HC312
HC 312 Swing Gate TELESCOPIC actuator with 300mm stroke ideal for gates up to 2,5m /8 ft length each leaf.
- 12V or 24V version available (24V version is recommended for heavy gates and SOFT STOP options)
- Integrated limit stops are availables for easier installation in "FC" version ( only for open position, while Closed position of the gate still requires a stopper fixed to the ground)
- Telescopic 300 mm stroke actuator is ideal to be installed on small/medium gates
- This electromechanical irreversible actuator comes with 1m outdoor use cable H05RN-F 2 x 1mmq; set of fixing brackets and unlocking key for emergency manual release
- Vintage design with unsurpassed reliability
- Massive motor-gear unit for reliable power transmission
- Actuator can be installed either on the right or on the left of the gate and can also open towards outside the property
- Ideal for intensive use in any climate
- The gate keeps automatically locked. The self-locking properties of the spindle increase the protection against a dangerous and un-authorized “pressing” of the gate and the otherwise necessary electro-locks for the final positions can be omitted
- The HC actuators are nowadays development of the original and countless imitated project dated 1986, made by Lorenzo Ducati, a pioneer in gate automation
- 2 years warranty.
- Color: black (special color edition 2016). Previous versions came in black and gray color version, no more available.
TELESCOPIC ELECTROMECHANICAL ACTUATOR HC 312
Actuator made of durable materials. Each component is made in the ideal material to ensure quality , reliability in all weather conditions, long lasting performances and safety: our DC actuators ensures double electrical insulation
- Stainless steel pipe AISI 304
- PR80 steel 3 principles 20mm main screw
- Sinterized gears
- C40 steel worm screw machined and lapped by rolling machine
- Rotor made with double insulated copper Class H 200°C
- Extruded painted alluminium
- High strength and double motor insulation: Nylon-glass integrated back fork guarantees double electrical insulation. Durable, withstands all weather conditions
- Hostaform® three principles nut screw for a long lasting high-performance
|
|
|
| dc motor
|
60W/120W |
| max pushing & power
|
1200N (2400N) |
| Stroke | 300mm |
| motor speed
|
1,5 cm/sec (2cm/sec) |
| telescopic actuator | √ |
| working cycles limit | continuous use |
| working temperature | -20°C/+50°C |
| max wing length | 2,5m/8 ft each leaf |
|
max.wing weight |
250kg each leaf |
| max. opening angle | 120° |
| automatic wing lock | √ irreversible actuator |
| manual release system | √ by triangular key |
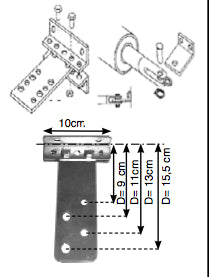
| Max "C" measure /pillar dimension (see pillar installation diagram on instruction manual) to install the actuator avoiding any masonry work on the pillar | 11 |
| Compatible with gate opening towards outside | √ |
NOTE:
the actuator will stop by amperometrical detection system: it therefore requires mechanical limits to be installed on the ground to stop the gate wing in the open and closed position. Special "FC" version are featured with on-board mechanical limits for the open wing position. Warning: a stopper fixed to the ground is still required for the closed position of the gate.
CONTROL BOARD COMPATIBILITY
12V version actuator is compatible to all DUCATI's 12V swing gate opener control boxes
24V version actuator is compatible to all DUCATI's 24V swing gate opener control boxes
I-BOX 9248
CONTROL BOX
Luxurious Stainless steel control box for swing gate openers with advanced features and easy adjustment 2 versions availables: 12V or 24V featuring quick opening of your door! Ideal for residential &...
KONTROL 7851
CONTROL BOX
Description Entry level control box for small size & light duty double or single wing swing gate opener 12V featuring DUCO SAFE: obstacle detection safety system guarantees maximal safety of use to your family For...
KONTROL 7855
CONTROL BOX
Description The standard Ducati's control box for medium size & high duty double or single swing gate openers 12V Comes with toroidal transformer, electronic board CTH42 featuring DUCATI's rolling coded radio transmission ( on board radio...
KONTROL 7857
CONTROL BOX
Description Ducati's SOLAR control box for 100% autonomous use double or single swing gate openers (12V) It includes 1 control box housing and 1 electronic board CTH44 Ideal for residential use...



















